Triangle Ultra Series Toilet Repair Parts

by Eljer

Looking for replacement parts for your unique Eljer Triangle toilet? You've found them right here at PlumbingSupply.com®! We are very proud to offer many Eljer toilet replacement parts - from fill valves to flappers, we've got them. Looking for a new seat or tank lid for the Triangle toilet? We have those, too.
Triangle Ultra toilet by Eljer
Order replacement parts for the Triangle Ultra toilet tank numbers below:
141-4100

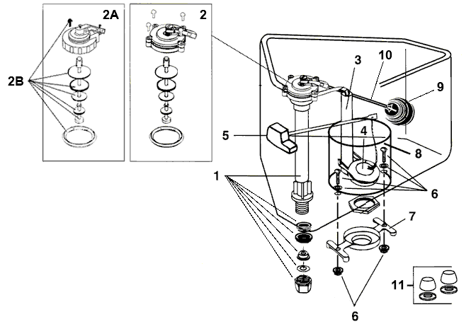
Repair Parts For The Triangle Ultra Series Toilet
Models # 091-4100 & 091-4105 - Tank # 141-4100

Eljer toilet repair parts
Item # Image Part # Description Price & Quantity
1 fluidmaster 400a fill valve 400A Fluidmaster Fill Valve - adjustable (9"-14") fill valve - Replaces 495-0214-00 $18.28 Enter a quantity and
2 4 screw repair kit for old style fill valve Repair Kit 4 Screw Repair Kit for Old Style Fill Valve - Replaces 495-0191-00 $11.45 Enter a quantity and
2A eljer fill valve 495-0185-00 495-0185-00 Twist-Lock Repair Kit Discontinued
2B repair kit coast mark4 MARK4KIT Plunger Repair Kit - for twist-lock fill valve - fits 495-0214-00 fill valve $6.27 Enter a quantity and
3 eljer will fit flush valve 495-5551-05 495-5551-05
'Will-Fit'
Flush Valve Assembly with Flapper and Chain - Replaces 495-5525-03 $25.28 Enter a quantity and
4 eljer flapper and chain 495-6042-00 495-6042-00 Flapper and chain Only Discontinued
flapper chemical resistant Flapper "Will-Fit" Flapper with strap - chemical resistant $3.59 Enter a quantity and
korky ultra water saver flapper 100bp 100BP Flapper with stainless steel chain - For 495-5551-05 Will-Fit Flush valve $7.07 Enter a quantity and
5 eljer chrome tank trip lever chrome 495-2704-00 495-2704-00 Trip Lever - Chrome $17.77 Enter a quantity and
image unavailable 495-2710-01 Trip Lever - Polished Brass Discontinued
6 will-fit tank to bowl bolt set brass v33 495-5967-00
Replaced by "will fit" parts
"Will Fit" Brass Tank to Bowl Bolt Set (pair) - brass bolts, chrome plated zinc nuts, wing nuts, and washers $7.21 Enter a quantity and
pasco tank to bowl set 237ss "Will Fit" Stainless Steel Tank to Bowl Bolt Set (pair) - Includes 2 stainless steel bolts (5/16" x 3"), 4 rubber washers, 4 nuts, and 4 flat steel washers $7.35 Enter a quantity and
7 eljer gasket 495-5702-00 "Will-Fit"
495-5702-00
Tank to Bowl Gasket - Replaces 495-5702-00 $5.78 Enter a quantity and
8 eljer reservoir 495-2535-00 495-2535-00 Plastic Reservoir Discontinued
9 plastic float ball Float Ball "Will Fit" Plastic Float Ball $4.44 Enter a quantity and
10 brass float rod 8 inch Float Rod "Will Fit" 8" Brass Float Rod - View more sizes $3.72 Enter a quantity and
11 toilet bowl cap set white Bolt Caps Toilet Bowl Bolt Caps (2) - White - view additional color options $4.67 Enter a quantity and
Not Shown eljer toilet seat emblem 124200 white 124-0200 Regular Squared Front Toilet Seat - White $71.52 Enter a quantity and
eljer toilet seat emblem 124205 124-0205 Extended Squared Front Toilet Seat - White Discontinued

Not sure which model toilet you have? Try looking under the toilet tank lid or inside of the toilet tank.


Related Items & Information

Have questions about toilet parts or toilet repair?

Toilet Repair Information & FAQs

return to top ↑

Copyright© 1995-2025 PlumbingSupply.com.
All Rights Reserved.