Palermo Series Toilet Repair Parts

by Eljer

The Eljer Palermo is a unique model, and replacing it is just not an option for you. No problem! PlumbingSupply.com® is your source for replacement parts - from flush levers to fill valves, you'll find them here. Looking for other Eljer toilet models? Click our page.
Palermo toilet by Eljer
Order replacement parts for the Palermo toilet model numbers below:
091-4000

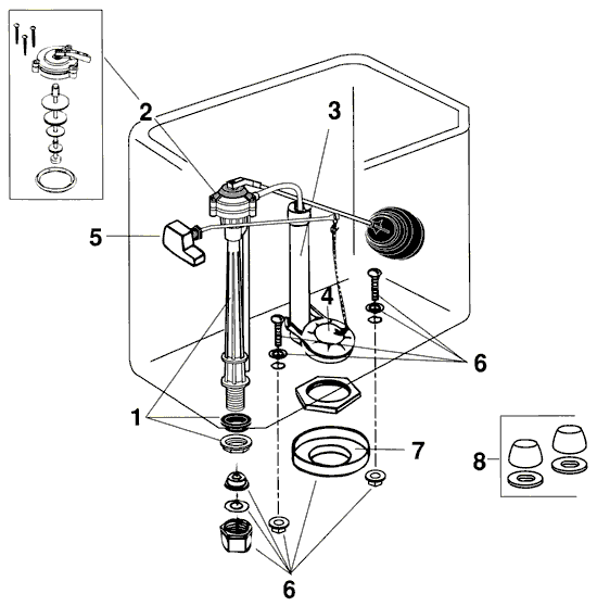
Repair Parts for the Eljer Palermo Series Toilet
Model # 091-4000

Eljer toilet repair parts

Item Image Part # Description Price & Quantity
1 image unavailable 495-0248-00 Fill Valve (Ballcock) - without rod and float ball Discontinued
2 eljer fill valve repair kit 495-0188-00 495-0188-00 OEM 3-Screw Cap and Plunger Fill Valve Repair Kit Discontinued
3 image unavailable 495-5523-00 Flush Valve Assembly with Flapper and Chain Discontinued
4 will-fit flapper 59bp "Will-Fit" Flapper 59BP Replacement Flapper - Replaces 495-6029-00 $3.95 Enter a quantity and
5 eljer chrome flush lever 495-2704-00 495-2704-00 Trip Lever - Chrome $17.77 Enter a quantity and
6 tank to bowl bolt set brass v33 V33 "Will-Fit"
Tank To Bowl Set
Mounting Parts Kit - Replaces 495-5972-00 $7.21 Enter a quantity and
7 image unavailable 495-5703-00 Gasket only Discontinued
8 toilet bowl cap set white Bolt Caps Toilet Bowl Bolt Caps (2) - White - view additional color options $4.67 Enter a quantity and
Not Shown plastic float ball Float Ball "Will Fit" Plastic Float Ball $4.44 Enter a quantity and
Not Shown brass float rod 8 inch Float Rod "Will Fit" 8 Brass Float Rod - View more sizes $3.72 Enter a quantity and

Not sure which model toilet you have? Try looking under the toilet tank lid or inside of the toilet tank.


Related Items & Information

Have questions about toilet parts or toilet repair?

Toilet Repair Information & FAQs

return to top ↑

Copyright© 1995-2025 PlumbingSupply.com.
All Rights Reserved.