Emblem Toilet Repair Parts

by Eljer

Keep your unique Eljer Emblem toilet working for years with the right replacement parts from your source, PlumbingSupply.com®! Whether you need fill valves, flappers, or flush levers, you'll find them here. Looking for a replacement seat for your Emblem toilet? Click our page.
Emblem toilet by Eljer
Order replacement parts for the Emblem toilet tank numbers below:
141-1175
141-1180
141-1182
141-1185
141-4500
141-4903
Emblem new style toilet by Eljer

Repair Parts for the Eljer Emblem Series Toilet
Models # 091-1500, 091-1520, 091-1560, 091-1570, 091-1580, 091-1590, 091-1605, 091-1615 & 091-1643
Tanks # 141-1175, 141-1180, 141-1182 & 141-1185

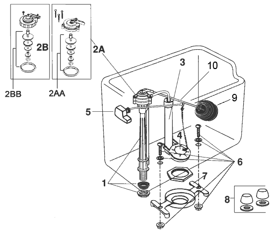
Eljer toilet repair parts
Item # Part # Description Price & Quantity
1 495-0214-00 Fill valve (ballcock) - float ball sold separately Discontinued
400A Suitable Replacement Fill Valve - 400A adjustable (9"-14") fill valve $18.28 Enter a quantity and
2A 495-0188-00 OEM 3-Screw Cap and Plunger Assembly Discontinued
2AA 3-Screw Repair Kit Plunger Repair Kit - Use if existing fill valve cap imprinted Coast 1B1 $5.97 Enter a quantity and
2B 495-0185-00 Float Valve Repair Kit Discontinued
2BB MARK4KIT Plunger repair kit for 495-0185-00 $6.27 Enter a quantity and
3 495-5551-00 Flush Valve Assembly with Flapper and Strap Discontinued
USE 495-5551-05
Will-Fit
495-5551-05
'Will-Fit'
Flush Valve Assembly with Flapper and Chain $25.28 Enter a quantity and
4 495-6029-00 Flapper - Replaced by "will fit" $3.95 Enter a quantity and
100BP Flapper with stainless steel chain - For 495-5551-05 Will-Fit Flush valve $7.07 Enter a quantity and
5 495-2704-00 Trip Lever - Chrome $17.77 Enter a quantity and
6 495-5964-00 Tank to Bowl Bolt Kit (less gasket) - replaced by "will fit" $7.21 Enter a quantity and
7 495-5702-00 Tank to Bowl Gasket - Replaced by "will fit" $5.78 Enter a quantity and
8 Bolt Caps Toilet Bowl Bolt Caps (2) - White - view additional color options $4.67 Enter a quantity and
9 Float Ball "Will Fit" Plastic Float Ball $4.44 Enter a quantity and
10 Float Rod "Will Fit" 8" Brass Float Rod - View more sizes $3.72 Enter a quantity and
Not Shown 124-0200 Regular Squared Front Toilet Seat - White $71.52 Enter a quantity and
124-0205 Elongated Squared Front Toilet Seat - White Discontinued

Not sure which model toilet you have? Try looking under the toilet tank lid or inside of the toilet tank.


Repair Parts for Eljer Emblem Toilets
Models # 091-4500, 091-4505, 091-4502, 091-4504, 091-4507, 091-4509, 091-5500 & 091-5505
Tanks # 141-4500 & 141-4903

Eljer toilet repair parts
Item # Part # Description Price & Quantity
1 495-0244-03 Float Valve (Ballcock) - 13" tall
Replaced by Fluidmaster 400A adjustable height fill valve
Discontinued
495-0214-00 Fill Valve (Ballcock) - for insulated tank
Replaced by Fluidmaster 400A adjustable height fill valve
Discontinued
400A Suitable Replacement Fill Valve - Fluidmaster 400A
adjustable (9"-14") fill valve
$18.28 Enter a quantity and
2 495-5551-03 Flush Valve Assembly with Flapper & Chain Discontinued
USE 495-5551-05
Will-Fit
495-5551-05
'Will-Fit'
Flush Valve Assembly with Flapper and Chain $25.28 Enter a quantity and
3 495-6051-00 Flapper - Blue with 21 link chain & black tip insert - Replaced by "will fit" $11.40 Enter a quantity and
100BP Flapper with stainless steel chain - For 495-5551-05 Will-Fit Flush valve $7.07 Enter a quantity and
4 495-2704-00 Trip Lever - Chrome $17.77 Enter a quantity and
5 495-5984-00
Replaced by "will fit" parts
"Will Fit" Tank to Bowl Gasket $5.78
"Will Fit" Brass Tank to Bowl Bolt Set (pair) - brass bolts, chrome plated zinc nuts, wing nuts, and washers $7.21
"Will Fit" Stainless Steel Tank to Bowl Bolt Set - Includes 2 stainless steel bolts (5/16" x 3"), 4 rubber washers, 4 nuts, and 4 flat steel washers $7.35 Enter a quantity and
6 495-5702-00 Tank to Bowl Gasket - Replaced by "will fit" $5.78 Enter a quantity and
7 Bolt Caps Toilet Bowl Bolt Caps (2) - White - click here for additional color options $4.67 Enter a quantity and
Not Shown 124-0200 Regular Squared Front Replacement Toilet Seat - White $71.52 Enter a quantity and
124-0205 Elongated Squared Front Toilet Seat - White Discontinued

Not sure which model toilet you have? Try looking under the toilet tank lid or inside of the toilet tank.


Related Items & Information

Frequently Asked Questions

Q. "What does 'will fit' mean?"
A. "Will Fit" is a term used to define an item that may or may not be made by the original manufacturer (OEM), but will function just like the original part.

Q. "I installed a new fill valve and my new valve comes on (and then goes off) for a few seconds about once per hour?"
A. This could be caused by many things. The most common is with a Fluidmaster 400. This is a great valve but be sure to install the 1/4" tube per their instructions. Use the clip that comes with it and do not just stick it into the overflow tube or it will go on and off every so often by itself. If that isn't it, take some food coloring and place it in your tank. Wait a few hours and if some of the color has gone into the bowl then you probably need a new flapper.

Q. "My Universal Rundle toilet tank has a tilt valve. How does the Fluidmaster 400A fill valve allow the bowl to refill?"
A. If you are using a Fluidmaster 400A then you must also use the Fluidmaster #599 refill tube & clip. The clip attaches to the back of the tank and keeps the 1/4" refill tube pointed towards and into the overflow tube of the tilt valve. The 1/4" refill tube must not be attached directly into the overflow tube. There must be an air break between the refill tube and the overflow tube to keep the 400A from siphoning the water in the tank and putting it into the bowl continuously causing the 400A to turn on and off continuously.

Have questions about toilet parts or toilet repair?

Toilet Repair Information & FAQs

return to top ↑

Copyright© 1995-2025 PlumbingSupply.com.
All Rights Reserved.