Savoy Series Toilet Repair Parts

by Eljer

When you need replacement parts for your Eljer Savoy toilet, you'll find many to choose from here on PlumbingSupply.com®! Whether you're looking for a flapper or a fill valve, the parts you need are just a click away. Searching for a new seat for your Eljer toilet? Click our page.
Savoy toilet by Eljer
Order replacement parts for the Savoy toilet tank numbers below:
141-0120
141-0220
141-0223
141-0225
141-0226
141-0227
Savoy Series III toilet by Eljer

Repair Parts for the Eljer Savoy Series Toilet
Models # 091-0120 & 091-0125 - Tank # 141-0120

Savoy series toilet parts
Item # Part # Description Price & Quantity
1 495-0214-00 Fill Valve (Ballcock) - float ball sold separately (see item #10) Discontinued
400A Suitable Replacement Fill Valve - Fluidmaster 400A
adjustable (9"-14") fill valve
$18.28 Enter a quantity and
2 495-0191-00 4 Screw Repair Kit for Old Style Fill Valve - Replaced by "will fit" $11.45 Enter a quantity and
2A MARK4KIT Plunger Repair Kit for #495-0214-00 Fill Valve $6.27 Enter a quantity and
3 495-5525-03 Flush Valve Assembly with Flapper and Chain - Replaced by 495-5551-05 - (may include OLD style or NEW style flapper) Discontinued
USE 495-5551-05
Will-Fit
Enter a quantity and
495-5551-05
'Will-Fit'
Flush Valve Assembly with Flapper and Chain $25.28 Enter a quantity and
4 495-6032-00 Flapper - replaced by 495-6029-00 - Replaced by "will fit" $3.95 Enter a quantity and
100BP Flapper with stainless steel chain - For 495-5551-05 Will-Fit Flush valve $7.07 Enter a quantity and
5 495-2702-00 Trip Lever - Chrome Discontinued
Trip Lever "Will-Fit" Trip Lever - Plastic $5.72
Trip Lever "Will Fit" Trip Lever - Brass $9.80 Enter a quantity and
6 495-5985-00 Replaced by "will fit" parts"Will Fit" Tank to Bowl Gasket $5.78
"Will Fit" Brass Tank to Bowl Bolt Set (pair) - brass bolts, chrome plated zinc nuts, wing nuts, and washers $7.21 Enter a quantity and
7 495-2535-00 Plastic Reservoir Discontinued
8 495-5703-00 Tank to Bowl Gasket - Replaced by "will fit" $5.78 Enter a quantity and
9 Bolt Caps Toilet Bowl Bolt Caps (2) - White - view additional color options $4.67 Enter a quantity and
10 Float Ball "Will Fit" Plastic Float Ball $4.44 Enter a quantity and
11 Float Rod "Will Fit" 8" Brass Float Rod - View more sizes $3.72 Enter a quantity and
Not Shown Round Premium "Will-Fit" Replacement Toilet Seat by Bemis - White - view more color options $64.80
Elongated Premium "Will-Fit" Replacement Toilet Seat by Bemis - White - view more color options $72.66 Enter a quantity and

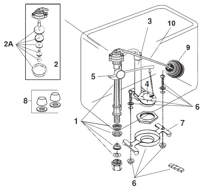
Repair Parts for the Eljer Series III Savoy Toilets
Models # 091-0220, 091-0223, 091-0225, 091-0227, 091-0228, 091-0280, 091-0285, 091-0288 & 091-0290
Tanks # 141-0220, 141-0223, 141-0225, 141-0226 & 141-0227

Repair parts for the Series III Savoy toilets
Item # Part # Description Price & Quantity
1 495-0214-00 Float Valve (Ballcock) - float ball sold separately (see item #9) Discontinued
400A Suitable Replacement Fill Valve - Fluidmaster 400A
adjustable (9"-14") fill valve
$18.28 Enter a quantity and
2 495-0185-00 Float Valve Repair Kit Discontinued
2A MARK4KIT Plunger Repair Kit for #495-0214-00 Fill Valve $6.27 Enter a quantity and
3 495-5551-05 Flush Valve Assembly with Flapper and Chain - (may include Original style or New style flapper) Discontinued
USE 495-5551-05
Will-Fit
495-5551-05
'Will-Fit'
Flush Valve Assembly with Flapper and Chain $25.28 Enter a quantity and
495-5551-07 Flush Valve Assembly with Flapper and Chain (for insulated tanks) Discontinued
4 495-6055-00 Original Style Flapper for 495-5551-05 flush valve - Replaced by "will fit"
(use orange insert for the same flow rate)
$11.40
495-6056-00 Flapper and Chain - for insulated tanks - Replaced by "will fit"
(use orange insert for the same flow rate)
$11.40 Enter a quantity and
100BP Flapper with stainless steel chain - For 495-5551-05 Will-Fit Flush valve $7.07 Enter a quantity and
5 495-2702-00 Trip Lever - Chrome Discontinued
Trip Lever "Will Fit" Trip Lever - Plastic $5.72
Trip Lever "Will Fit" Trip Lever - Brass $9.80 Enter a quantity and
6 495-5995-00 Replaced by "will fit" parts "Will Fit" Tank to Bowl Gasket $5.78 Enter a quantity and
"Will Fit" Brass Tank to Bowl Bolt Set (pair) - brass bolts, chrome plated zinc nuts, wing nuts, and washers $7.21 Enter a quantity and
7 495-5702-00 Tank to Bowl Gasket - Replaced by "will fit" $5.78 Enter a quantity and
8 Bolt Caps Toilet Bowl Bolt Caps (2) - White - Additional color options $4.67 Enter a quantity and
9 Float Ball "Will Fit" Plastic Float Ball $4.44 Enter a quantity and
10 Float Rod "Will Fit" 8" Brass Float Rod - View more sizes $3.72 Enter a quantity and
Not Shown Round Premium "Will-Fit" Replacement Toilet Seat by Bemis - White - view more color options $64.80
Elongated Premium "Will-Fit" Replacement Toilet Seat by Bemis - White - view more color options $72.66 Enter a quantity and

Not sure which model toilet you have? Try looking under the toilet tank lid or inside of the toilet tank.


Related Items & Information

Have questions about toilet parts or toilet repair?

Toilet Repair Information & FAQs

return to top ↑

Copyright© 1995-2025 PlumbingSupply.com.
All Rights Reserved.