Glenwall Series Toilet Repair Parts
by American Standard

Looking for replacement parts for your American Standard Glenwall wall hung toilet? Look no further! Whether you need a plunger repair kit or a flapper and chain, or you need to fix a leak or repair a plunger, we have what you need.


Replacement Parts for American Standard Glenwall Series Toilets
Two Piece Wall Hung Model - Elongated #2093 / Tank #4083

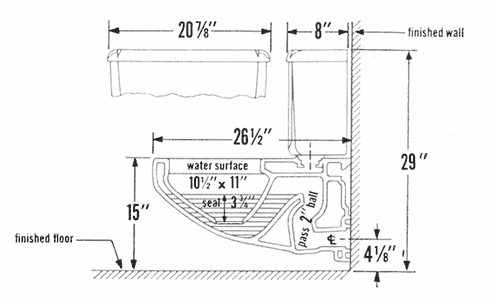
Parts diagram for American Standard Glenwall series

Item # Image Part # Description Price & Quantity
1 american standard fill valve 47212-0070a 47212-0070A Water Control Assembly - Replaces 047184-0070A - float ball sold separately - see item #4 Discontinued
fluidmaster 400a fill valve 400A "Will Fit" Fluidmaster Fill Valve - adjusts 9" to 14", float ball/rod NOT needed $18.28 Enter a quantity and
2 american standard plunger repair kit 11372-0070 011372-0070A Plunger Repair Kit $15.00 Enter a quantity and
3 american standard float rod 011396-0070a 011396-0070A Float Rod $5.75 Enter a quantity and
4 plastic float ball 4 inch by 5 inch ball "Will-Fit" Float Ball Float Ball - Replaces 047381-0070A float ball $4.44 Enter a quantity and
5 will fit clear refill tube "Will-Fit" Refill Tube "Will-Fit" Refill Tube - Replaces 030079-0070A refill tube $2.66 Enter a quantity and
6 --- 047094-0070A Water Control Mounting Kit Discontinued
7 american standard brass supply coupling kit 047050-0070a 047050-0070A Supply Coupling Kit $7.54 Enter a quantity and
8 american standard flush valve 47387-0070a 047387-0070A Flush Valve Assembly - 9-1/2" tall overflow - includes flapper & mounting kit Discontinued
korky plus 87 flush valve dimensions #87 "Will Fit" 2-Inch Flush Valve - 10-1/2" tall overflow, will need to be cut down to height of original valve (altered valves are non-returnable) $16.49 Enter a quantity and
9 --- Cap Cap for flush valve Discontinued
10 american standard flapper chain 47146-0070a 047146-0070A "Will-Fit" Flapper & Chain - for discontinued 047387-0070A flush valve $8.80 Enter a quantity and
chemical resistant flapper with strap 53396 "Will Fit" Replacement Flapper with Strap - chemical resistant - for discontinued 047387-0070A flush valve $3.59 Enter a quantity and
korky replacement flapper 2001 2001BP Replacement flapper only - for #87 Flush Valve $3.35 Enter a quantity and
11 american standard toilet part 047195-0070a 047195-0070A Flush Valve Mounting Kit $11.58 Enter a quantity and
12 --- 047147-0200A Front Mount Tank Lever - Chrome Discontinued
13 tank to bowl kit 47188-0070 047188-0070 Tank To Bowl Kit - includes gasket and mounting hardware $25.33 Enter a quantity and
14 bemis affinity elongated biscuit toilet seat 1200e4-346 1200E4 Elongated - Quality Bemis "Will Fit" Toilet Seat - WHITE (view more color options) - view Elongated seat dimensions $72.66 Enter a quantity and
15 american standard toilet bolt cap covers 034783-0200a 034783-0200A Toilet Bolt Caps (2) - White (view more color options) $9.28 Enter a quantity and

Not sure which model toilet you have? Try looking under the toilet tank lid or inside of the toilet tank.


Replacement Parts for American Standard Glenwall Series Toilets
Two Piece Model - Round #2094.050 / Tank #4049

image - American Standard Model #2094.050 complete rough-in dimensions

Our records indicate that American Standard made the original Glenwall toilet in 1965. We believe that it may have been manufactured both prior to that year and after but we are unable to confirm this with American Standard.

Item # Part # Description Price & Quantity
american standard adjustable fill valve 7381125-400-0070a with dimensions 7381125-400-0070A American Standard Fill Valve - most commonly used for American Standard #4049 tanks - Replaces 3137-1550 9-3/4" Toilet Fill Valve $44.10 Enter a quantity and
american standard fill valve 3131-0750 3131-0750 11" Toilet Fill Valve - "will fit" some American Standard #4049 tanks - float ball sold separately below $90.09 Enter a quantity and
american standard fill valve 3137-0980 3137-0980 11-1/2" Toilet Fill Valve - "will fit" some American Standard #4049 tanks - float ball sold separately below $65.84 Enter a quantity and
american standard fill valve 3136-0580 3136-0580 13-3/4" Toilet Fill Valve - "will fit" some American Standard #4049 tanks Discontinued
american standard flush valve 47089-0700 47089-0700 Toilet Flush Valve - "will fit" some American Standard #4049 tanks $23.78 Enter a quantity and
american standard seal disk for flushvalve as444 AS444 Snap-On Seat Disc (includes brass insert, remove to install) - for "will fit" flush valve #47089-0700 - Replaces original 33643-0070A & 33643-0700 seat disc $6.38 Enter a quantity and
american standard tank to bowl gasket 34602-0700 34602-0700 Replacement Tank to Bowl gasket $6.27 Enter a quantity and
american standard tank to bowl kit 47060-0700 47060-0700 Tank to Bowl Bolt Kit - includes tank gasket, U-shaped gasket, bolts/nuts & washers $12.98 Enter a quantity and
american standard chrome trip lever 70437-0200 70437-0200 Trip Lever - Chrome - fits some American Standard #4049 tanks $24.24 Enter a quantity and
plastic float ball 4 inch by 5 inch Float Ball Plastic - "will-fit" - 4" x 5" - 1/4"-20 $4.44 Enter a quantity and
bemis affinity premium round toilet seat 200e4 with dimensions Toilet Seat
200E4
ROUND Front - Quality Bemis "Will Fit" Toilet Seat - White (view more color options) $64.80 Enter a quantity and

Toilet tank cleaners break down the materials in your toilet flappers and fill valves


Trouble Shooting Guide For Your Glenwall Toilet

PROBLEM POSSIBLE CAUSES CORRECTION
Water Control Runs Continuously
Float rod is binding or is set too high Adjust by bending float rod to suit, and set at water line
Flush valve disc is not seating or chain is adjusted too short Replace disc or lengthen chain
Water leakage between tank and bowl Inspect and tighten tank coupling bolts
Dirt under tip valve (adjusting nut)
NOTE: on early models with sheath tube, the water control must be removed from tank and replaced
Move actuating arm up & down several times to dislodge dirt. If unsuccessful, remove plug, screen, & tip valve for cleaning
Damaged water control seats (packing nut or tip valve) Remove and replace
Loose packing nut Tighten packing nut
Poor Flushing Action
Tank water lever too low Bend float rod arm upward
Improper seal between tank and bowl at discharge tube Inspect discharge tube gasket for proper seal
Ventilator Does Not Operate
Linkage arm out of adjustment Inspect operation. Adjust as required
Clogged Screen Shut off water. Remove plug & screen. Replace after cleaning
Clogged venturi orifice Loosen flare nut at male elbow and 4 screws. Lift top vent section carefully. If clogged, clean aspirator openings. Take care not to damage O rings
Ventilator not seated on overflow tube Press ventilator down on overflow gently until seated


Have questions about toilet parts or toilet repair?

Toilet Repair Information & FAQs


return to top ↑

Copyright© 1995-2025 PlumbingSupply.com.
All Rights Reserved.